三大優勢
價格合理、質量穩定、交貨快捷
專業服務
提供全套工程閥門解決方案,閥門售前、售中、售后專業服務
銷售熱線:021-56622563 56084471
圖文傳真: 021-56084473

一、產品[意式超短型球閥]的詳細資料:
產品型號:Q71F
產品名稱:意式超短型球閥
產品特點:Q71F對夾連接球閥具有結構緊湊、體積小、重量輕、 密封性能好、啟閉靈活而保溫對夾連接球閥良好的保溫保冷特性既能有效防止管路中粘稠介質凝固,又能降低管路中介質熱量的損失。
對夾球閥可裝上相應的電動及氣動裝置,以實現遙控或自動控制。適用于石油、化工、冶金、制藥、食品等各類系統中。應用規范公稱壓力:1.6-2.5MPa 適用溫度范圍:-20~232℃-350℃ 適用介質:水、 |
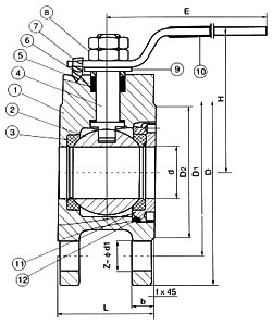
二、主要零件材料:
序號 |
零件名稱 |
材質 | |
1 |
閥體 |
不銹鋼CF8M/CF8 |
碳鋼WCB |
2 |
球 |
不銹鋼316/304 |
不銹鋼SS304 |
3 |
密封墊 |
聚四氟乙稀PTFE |
聚四氟乙稀PTFE |
4 |
閥桿 |
不銹鋼316/304 |
不銹鋼SS304 |
5 |
填料 |
聚四氟乙烯PTFE |
聚四氟乙烯PTFE |
6 |
定位鎖 |
不銹鋼304 |
不銹鋼SS304 |
7 |
手柄 |
不銹鋼304 |
不銹鋼SS304 |
8 |
閥桿螺母 |
不銹鋼304 |
不銹鋼SS304 |
9 |
填料壓蓋 |
不銹鋼304 |
不銹鋼SS304 |
10 |
手柄套 |
塑料 |
塑料 |
11 |
密封瓶帽 |
不銹鋼316/304 |
不銹鋼316/304 |
12 |
墊圈 |
聚四氟乙稀PTFE |
聚四氟乙稀PTFE |
三、意式超短型球閥主要尺寸:
SIZE |
1/2″ |
3/4″ |
1″ |
11/4″ |
11/2″ |
2″ |
21/2″ |
3″ |
4″ |
5″ |
6″ |
8″ |
D |
15 |
19 |
23.5 |
30 |
36 |
45 |
58 |
67 |
76 |
100 |
125 |
195 |
L |
32 |
38 |
40 |
50 |
60 |
70 |
95 |
118 |
140 |
195 |
225 |
275 |
D |
95 |
105 |
115 |
135 |
145 |
160 |
180 |
195 |
215 |
245 |
280 |
335 |
D1 |
65 |
75 |
85 |
100 |
110 |
125 |
145 |
160 |
180 |
210 |
240 |
295 |
D2 |
45 |
55 |
65 |
78 |
85 |
100 |
120 |
135 |
155 |
185 |
210 |
265 |
H |
62 |
70 |
79 |
86 |
92 |
102 |
158 |
172 |
187 |
200 |
240 |
278 |
E |
110 |
125 |
135 |
150 |
150 |
180 |
250 |
300 |
350 |
650 |
840 |
1000 |
B |
14 |
14 |
16 |
16 |
18 |
20 |
22 |
24 |
24 |
26 |
26 |
28 |
z-d1 |
4-14 |
4-14 |
4-14 |
4-18 |
4-18 |
4-18 |
4-18 |
8-18 |
8-18 |
8-18 |
8-23 |
12-20 |
f |
2 |
2 |
2 |
3 |
3 |
3 |
3 |
3 |
3 |
3 |
3 |
3 |
注:其中6″、8″閥體為兩段式超短型結構。
訂貨須知:
一、①意式超短型球閥產品名稱與型號②意式超短型球閥口徑③意式超短型球閥是否帶附件以便我們的為您正確選型。
二、若已經由設計單位選定公司的意式超短型球閥型號,請按意式超短型球閥閥型號直接向我司銷售部訂購。
三、當使用的場合非常重要或環境比較復雜時,請您盡量提供設計圖紙和詳細參數,由我們的專家為您審核把關。
感謝您訪問我們的網站,如有任何疑問.您可以致電給我們,我們一定會盡心盡力為您提供優質的服務。